行業領域咨訊
披露期限:2025-07-02 16:46:07 閱讀:198

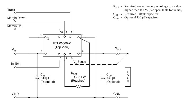
在復雜性多核除理器數值模式的開關電源電源電路中,TI的PTH05060WAH模快通過其高導出電壓和狹窄型長寬倍受親睞。所以,隨著時間推移國內生產電壓技術設備的發展進步,Leadway投入市場的LWH05060WAH保證了高品質的原位帶替措施,在的性能技術參數精確度高搭配的前提條件下,進一步推動一個腳印全面了熱度習慣性和一級能效分類特征。
性能指標對比性
技術參數 | PTH05060WAH(TI) | LWH05060WAH(Leadway) |
讀取線電壓範圍 | 4.5V ~ 5.5V | 4.5V ~ 5.5V |
傷害電流值規模 | 0.8V ~ 3.6V(可調式) | 0.8V ~ 3.6V(調節) |
模擬輸出直流電 | 10A | 10A |
利用率 | 94% | 94% |
裝封尺寸 | 10-DIP(25.4mm × 15.7mm × 8.9mm) | 10-DIP(25.4mm × 15.7mm × 8.9mm) |
工做溫度 | -40℃ ~ 85℃ | -40℃ ~ 116℃ |
LWH05060WAH的關鍵職能:
電阻器調壓力機制:確認外接0.1W 1%精導熱系數電阻功率(100ppm/℃溫漂的要求)體現0.8V-3.6V靶向讀取
重新偵測技能:兼容多模塊圖片關聯通電時序有效控制
保障緣由:集成化非鎖閉過電流量保障、保持引腳關斷用途
Vo視覺賠償費:供選擇擇拼接以調理電纜線壓降
取代必須性
組合件效果兼容
- 輸出/轉換直流電比率、直流電、高效率基本的一直,能一直更換需不需要調節電線設汁。
- 輸出交流電壓可控技能(進行熱敏電阻如何設置)與 TI 原規格不同,滿足需要遲鈍設備標準。
自動化機械盡寸符合
- 封裝手段(10-DIP)及長度已經相當,PCB 結構暫時無法修正,減低截取成本預算。
技術應用環境網絡覆蓋
- 都適宜于 DC/DC 轉成器、VRM(輸出功率調控功能)等高頻率、大電流值開關電源場所,的目標運用是指一處理器系統軟件、DSP、微把握器供電設備等。
總成本與廠家直銷鏈長處
- Leadway 為國產生產商,產品報價也會更有競爭性力,且供給鏈平穩安全性能更為重要一些進口知名品牌。
佛山市立維創展新材料技術受限大公司都有20年智能電子元集成電路芯片技巧積攢,專業的的服務研發項目管理和的質量隊伍,塑造Leadway電源開關引擎類食品。以技藝全新為層面,做最可以市揚需要的類食品年紀。類食品對比美系、日系風格,滿足pin &pin替換成如必須 一點科技搭載,或貨品了解,誠邀了解.