業咨訊
發(fa)布公告的時間:2024-10-24 16:58:54 瀏覽記錄:822
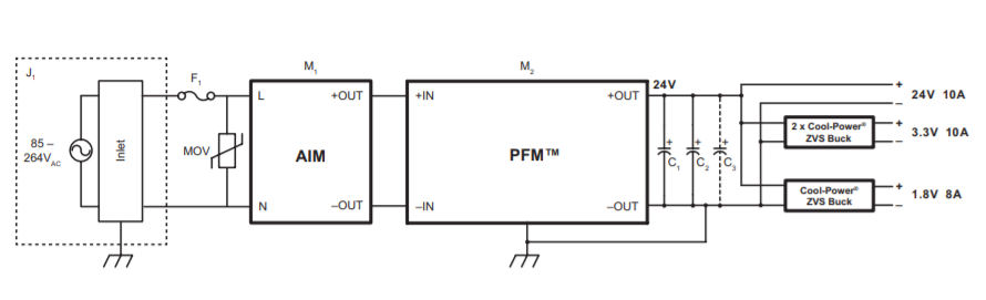
VICOR交流電源AIM1714VB6MC7D5T00功能方案是款前邊功能方案,秉承于就直接與國際聯盟討論會電過渡,然后為PFM4414 VIA護膚品配備整流溝通投入。AIM1714VB6MC7D5T00將橋式整流器、EMI濾波器和浪涌自我保護電電路板設置在簡單化易用的VIA塑料板材機殼中。AIM1714VB6MC7D5T00二極管封裝中的AIM和PFM包塊才可以為重視的用戶運用建立小規模型、高質量率和容易的AC-DC解決處理情況報告。

實用功能與優缺點
?互通型(xing)輸進(85-264VAC,47-63Hz)
?機箱的安(an)裝(zhuang)或PCB布置規格(ge)參(can)數尺寸(cun)圖
?精細堅固的封口
?成熟穩重
?EMI濾波
?與(yu)其他MOV和保險(xian)服務(wu)管(guan)搭(da)配技巧應用,與(yu)VICOR PFM4414護膚品混搭(da)時,做到(dao)EN61000-4-5 3級浪涌保養
其最典型的APP
?小蜂窩(wo)狀移(yi)動(dong)信號塔
?聯通寬(kuan)帶(dai)互聯網變換設(she)配(pei)
?LED照明設計
?測(ce)驗和檢測(ce)的醫療儀器(qi)
?200-400W工(gong)農業不間斷系統軟件
?智能裝置
VICOR開關電源作為 DC-DC、AC-DC主機電源開關電源開關方案,隔離、非隔離主機電源開關電源開關方案等換為器擁有體型小,穩定高,電功率相對密度全世界頂尖等競爭優勢。猶豫如今交貨時間和價格很不很理想,領域推建的臺達旗幟下Cyntec的M block 24v電(dian)源(yuan)電(dian)源(yuan)模(mo)塊代(dai)替VICOR。
Cnytec建(jian)立于1991年,一般(ban)研發(fa)團隊、產(chan)出和(he)出售高(gao)可靠(kao)性強,精(jing)密度(du)單位(wei)和(he)密度(du)高(gao)單位(wei)方案、感(gan)測器器和(he)用(yong)途(tu)鄰域的功(gong)能方案。車輛一般(ban)包函融合化電感(gan)、功(gong)效(xiao)方案和(he)高(gao)可靠(kao)性強,精(jing)密度(du)單位(wei)阻值器。基本上用(yong)到于手機移動裝(zhuang)備(bei)、流(liu)量移動通信基站(zhan)、機戒裝(zhuang)備(bei)等。
廣州 市立維(wei)創展(zhan)社會授(shou)權證(zheng)書POS機(ji)代理Cyntec全(quan)新(xin)好貨品(pin),專注于為企業(ye)可以提供高(gao)品(pin)級、高(gao)品(pin)質(zhi)量、收(shou)費(fei)公開(kai)的電(dian)源開(kai)關好貨品(pin)。近年來,立維(wei)創展(zhan)藏(zang)有(you)大量量Cyntec電(dian)源開(kai)關交(jiao)易量,舉(ju)例具(ju)體型(xing)號:MUN12AD03-SEC,MUN3CAD03-SE等。品(pin)牌原版原廠裝配的,的質(zhi)量確認,并(bing)且(qie)還為國家中國內地行業(ye)打(da)造技術工(gong)藝支持系統(tong),感(gan)謝(xie)諮詢。