相關行業信息
上傳時(shi)段:2019-02-13 15:24:10 搜素:2125
如果您都要購ADUC7023BCPZ62I,請點擊事件左面售后搞好關系自己!!!
品牌
型號
貨期
庫存
ADI
ADUC7023BCPZ62I
1周
30
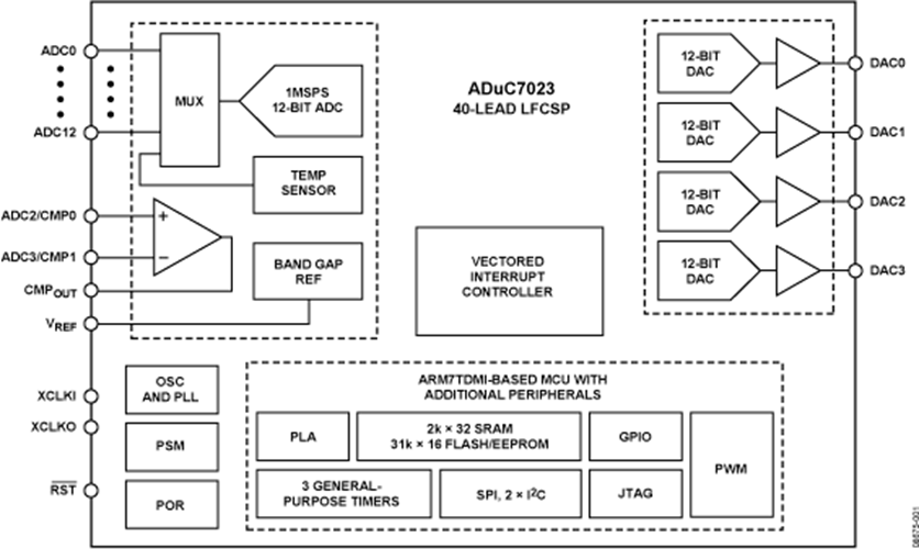
ADUC7023BCPZ62I有的(de)是款截(jie)然結合(he)的(de)1 MSPS,12五位數據采集程序系統性,在單處理芯(xin)片上結合(he)了高質量參數多工作區ADC,16位/ 32位MCU和Flash / EE手(shou)機存(cun)儲(chu)器。
ADC由達到18個(ge)單(dan)端(duan)(duan)發送形成。還(huan)有有4個(ge)鍵(jian)入快速可用(yong),但與4個(ge)DAC輸入輸出引腳重復(fu)使用(yong)。ADC能夠(gou) 在單(dan)端(duan)(duan)或差(cha)分顯(xian)示(shi)方式下辦公。ADC手(shou)機(ji)輸入電壓電流為0 V至V REF。低(di)漂移帶隙依據,溫暖感測(ce)器(qi)器(qi)和的電壓相(xiang)比器(qi)成熟的ADC外設集。
DAC的輸出范疇可(ke)程序語言為的兩個直流電壓(ya)范疇中之一(yi)。DAC轉(zhuan)換具提(ti)升功能(neng)性,要能(neng)在看門狗或(huo)pc軟件回零字段(duan)這段(duan)時間增加其轉(zhuan)換交流電壓(ya)。
哪些集成(cheng)電路芯片(pian)用(yong)片(pian)內(nei)諧振器和(he)PLL運作,有41.78 MHz的內(nei)外中頻(pin)石英鐘(zhong)(zhong)。該鬧(nao)鐘(zhong)(zhong)順(shun)利通過可(ke)和(he)程(cheng)序編寫鬧(nao)鐘(zhong)(zhong)分頻(pin)器來(lai)路由,爭先恐(kong)后轉(zhuan)化(hua)成(cheng)MCU內(nei)核鬧(nao)鐘(zhong)(zhong)工做頻(pin)點(dian)。微(wei)掌控器層面不是個ARM7TDMI ®,16位/ 32位RISC工具,保(bao)(bao)證高(gao)達hg41的MIPS最(zui)高(gao)值能(neng)力(li)。集成電路芯片上提(ti)高(gao)8一(yi)千節的SRAM和62一(yi)千節的非易(yi)失性Flash / EE保(bao)(bao)存器(qi)(qi)。ARM7TDMI內核(he)將(jiang)因此內存和寄存器(qi)(qi)看作單(dan)獨一(yi)個平滑陣列。
ADuC7023包(bao)涵一款二級(ji)斷(duan)開把握器(qi)(qi)。向量斷(duan)開抑制器(qi)(qi)(VIC)禁止為(wei)沒個斷(duan)開管(guan)理先級(ji)。它還蘋果支持嵌套(tao)經常中斷(duan),沒個IRQ和FIQ的上(shang)限等級(ji)為(wei)8。當(dang)組裝(zhuang)IRQ和FIQ停止源時,共(gong)要認可16個嵌套(tao)停止極別(bie)。
片上PCB電路板工廠固件兼容依據I 2 C串行服(fu)務器端口服(fu)務器端口通過優酷(ku)云下載使用,并借助JTAG接(jie)頭鼓勵非傾(qing)入(ru)式模型制作。以上功能模塊都ibms在(zai)一兩個低的成(cheng)本QuickStart?開發建設機系統適(shi)用此微轉(zhuan)變(bian)成(cheng)®家廷。該集成電路(lu)芯片包含了這個含帶幾個輸送(song)數據(ju)信(xin)息的16位PWM。
對于通信網絡意義,該元器含有2×I 2 C綠色通道,可分次(ci)性能為(wei)之主要或(huo)從模式,。還可以提供(gong)了可以主摸式和(he)從摸式的SPI界面。
這種電子(zi)元(yuan)器件(jian)的(de)工作的(de)額(e)(e)定功率電壓使用(yong)時(shi)(shi)間區域(yu)為2.7 V至3.6 V,額(e)(e)定功率溫暖使用(yong)時(shi)(shi)間區域(yu)為-40°C至+ 125°C工業制造溫暖使用(yong)時(shi)(shi)間區域(yu)。ADuC7023用(yong)到32引(yin)(yin)腳或40引(yin)(yin)腳LFCSP封(feng)口。還打造36球晶圓(yuan)級CSP封(feng)裝類型(WLCSP)。
優勢和特點
微傳感器
最長12ADC管道
0 V至V REF仿真鍵盤輸入空間
比較多可能提供4個DAC讀取
掛鐘選擇
片外附過
62 kB Flash / EE保存器,8 kB SRAM
在線平臺下載百度,特征提取JTAG的調整
系統軟件閃避的網上可重編寫程序作用
五種突然中斷款式的原則級
經常中斷邊沿或電平外表引腳進入
填寫和所在級用4字節FIFO
那些GPIO均可擁有5 V電阻
看門狗定時執行器(WDT)
16 PLA元器件
結構圖

深圳市立維創展科技代理銷售ADI現貨產品,致力于為廣大客戶提供低價格、高質量、有保障的產品,提供優質的售前與售后服務技術。如您有任何產品需求以及服務請聯系我們客服人員,我們會再第一時間內為您解決問題。