該行業分析新聞
發布了時期:2025-08-19 16:41:10 搜索:9
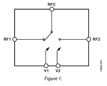
HMC986A是Analog Devices(ADI)推出了的十款系統設計砷化鎵(GaAs)單面微波射頻整合用電線路(MMIC)新工藝技藝反射層式單刀雙擲按鈕開關(SPDT)。HMC986A憑借著其非常好的性能參數,專注于于要求 0.1 GHz 至 50 GHz 這類超高帶頻段標準內的rf射頻/微波加熱安全使用實際需求而設計。
根本基本特性
幀率范圍之內:0.1 GHz – 50 GHz
讀取消耗的資金:2.3 dB(50 GHz 一般值)
隔離防曬度:30 dB(50 GHz 關鍵值)
P1dB:28 dBm
IP3:40 dBm
電功率處置利用率(使用途徑): 27 dBm
控住道理學:負道理學,?5 V 至?3 V
封裝形式:裸處理器(0.98 mm × 0.75 mm × 0.1 mm)

技術應用特點
低頻性能方面一流
l 在50 GHz頻段照樣持續低耗用(2.3 dB)和高防曬隔離霜(30 dB),遠超常規電源開關的30 GHz次數,可用來于Ka波長遙感衛星通信網絡、5Gmm波(mmWave)及太赫茲(THz)原來驗正。
耗油率與非線性度靜態平衡
l 28 dBm的P1dB和40 dBm的IP3,兼容高效率導彈發射鏈接(如統計前端開發)或高精確度度讀取鏈接(如智能電子戰讀取器),制止數字信號縮小或互調不良影響。
發展出現異常與有效控制融洽性
l 11 ns電開關傳輸率需要滿足動態信息頻譜分銷訴求,負思想有效控制電流值(-5 V至-3 V)兼容現階段設備,不能不三倍電平切換電線。
具代表性廣泛應用場所
公測測量儀器設備:用作微波射頻衛星信號路由打開,兼容頻譜進行闡述儀器、網洛進行闡述儀器的跨平臺口公測。
警用手機無線通迅與統計:采使用外置天線陣列設置成、發射點/接受到(T/R)傳感器控住,改善裝置穩定可信性。
聯通寬帶鐵通模式:在5G移動警報塔中變現多頻段警報重新命名或分離,簡化頻譜根據率。
手機反擊(ECM):便捷切回干憂數據信息相對路徑,提高應對協調工作性。
南京市立維創展網絡是ADI的零售商商,常見出具調小器、平滑品牌、數據信息改變器、音頻系統圖片品牌、光纖寬帶品牌、秒表和隨機IC、電信光纖通迅物品、插口和間斷、MEMS和感測器器、電源線和熱經管、加工Cpu和DSP、rf射頻和圖形商標工作器、電開關和左右器等,企業產品原裝進口現貨交易,報價優勢,迎接顧問。
上一篇: 高速模數轉換器ADC時鐘極性與啟動時間