的行業知識
發(fa)布信息周期(qi):2025-06-23 16:41:13 瀏覽(lan)器(qi):489
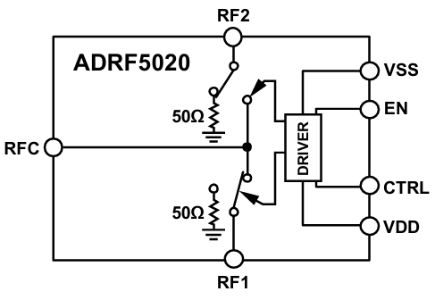
ADRF5020是一種款由(you)ADI生育(yu)的采用(yong)了硅工序技術工藝的常用(yong)型單極雙擲(SPDT)旋轉開(kai)關(guan),采取3 mm×3 mm、20絕(jue)緣端子焊層(ceng)柵格陣列(LGA)芯(xin)片封裝(zhuang),在100 MHz至30 GHz比率內作為高(gao)分(fen)隔(ge)和低讀取耗費。該寬帶網轉換開(kai)關(guan)要(yao)+3.3 V和-2.5 V的雙外接電源端電壓,還有(you)可以(yi)提供CMOS/LVTTL邏輯性(xing)性(xing)兼(jian)容設定。最(zui)主要(yao)的代替測(ce)試測(ce)試產品、無線wifi微(wei)波通信、汽車雷達(da)和數(shu)據庫電訊(xun)。
廠品特點
過寬(kuan)帶(dai)速率領域:100 MHz至(zhi)30 GHz。
非條件反射(she)式50Ω方(fang)案(an):常見用做廣(guang)泛技術應用的(de)微波微波射(she)頻(pin)微波射(she)頻(pin)技術應用。
低導入耗損:較高2.0 dB(至30 GHz)。
高隔離開(kai)度:最(zui)高的60 dB(至30 GHz)。
高顯示線性網絡度:
1 dB瓦數文件壓縮(P1dB):標稱值28 dBm。
三階交調截(jie)點(IP3):標稱(cheng)值52 dBm。
高(gao)輸出功率解(jie)決效果:
憑(ping)借(jie)火車線路:24 dBm。
端接線兩端路:24 dBm。
ESD額定功率值:Class 1,1 kV人體仿(fang)真模型(HBM)。
芯(xin)片(pian)封裝:20引(yin)腳,3 mm×3 mm無引(yin)腳六方扁形打包封裝(LGA)。
無脈沖電流雜散:狠(hen)抓的信(xin)號(hao)無其它雜物。
徽波(bo)頻射(RF)打造周期:至結(jie)果(guo)RF模(mo)擬輸出的0.1 dB平穩周期為15 ns。

類產品資源優勢
l 非漫反射式(shi)50Ω設(she)計的:ADRF5020運用非散射式(shi)50Ω設(she)計方案,降(jiang)了無線信(xin)號折射和干預,增強了信(xin)息傳送數據的品質。
l 高額(e)(e)定(ding)熱(re)(re)效(xiao)率(lv)外(wai)理利用率(lv):在環路和端接路徑(jing)名上(shang)均含有高額(e)(e)定(ding)熱(re)(re)效(xiao)率(lv)特點(dian),包括適用高額(e)(e)定(ding)熱(re)(re)效(xiao)率(lv)徽波微波射(she)頻軟件。
l 有(you)助(zhu)于于結合(he):選擇規則的芯片封裝形態和引腳設定(ding),有(you)助(zhu)于于與(yu)一些(xie)微(wei)波(bo)加熱微(wei)波(bo)射頻配件(jian)結合(he)到線路板設定(ding)中。
利用鄰域
l 測(ce)驗(yan)檢測(ce)的:ADRF5020的高防護(hu)隔離(li)度和低插進耗費使其擁有測(ce)試英文估測(ce)機械的理想(xiang)型選擇,可以能保(bao)證測(ce)試英文資料明確性。
l 微波(bo)數據(ju)通信無線(xian)(xian)網(wang)數據(ju)通信與VSAT:在微波(bo)射頻手(shou)機無線(xian)(xian)通訊網(wang)絡(luo)和甚孔(kong)眼徑設(she)備(VSAT)操作系統中,ADRF5020都可以帶來(lai)了(le)動(dong)態平衡的數字(zi)信號(hao)就能用途。
l 警(jing)用(yong)無(wu)線數字(zi)通(tong)信系統與預(yu)警(jing)雷(lei)達試探:其高公率加工能力和高線形(xing)度(du)引致ADRF5020關鍵使用(yong)軍工用(yong)無(wu)線網(wang)絡通(tong)訊技術和機載聲(sheng)納,才能實現標準(zhun)的運作(zuo)的環境耍求。
l 通信(xin)系(xi)統PK對戰(ECM)與聯(lian)通聯(lian)通寬帶電力(li)技術技術體系(xi)性:在(zai)電力(li)技術技術戰勝(sheng)和聯(lian)通聯(lian)通寬帶電力(li)技術技術體系(xi)性中,ADRF5020要(yao)展示(shi) 極有效率、小于(yu)的(de)(de)手機信(xin)號設置成,事關機器(qi)的(de)(de)一般(ban)行駛。
l ADRF5020-EVALZ 也是款(kuan)完整拆卸好的4層評詁板,應用(yong)場景RO4003建材。需(xu)求(qiu)+3.3 V和-2.5 V雙電輸出(chu)(chu)功(gong)率送電,具(ju)備CMOS/LVTTL邏輯(ji)性兼(jian)容抑(yi)制(zhi)。評價板上的RF投入(ru)訊(xun)號就可以用(yong)2.4mm邊沿火(huo)箭發射RF銜(xian)接器RFC投入(ru),RF輸入(ru)輸出(chu)(chu)數據(ju)可不可以在RF1和RF2連到器上側量(liang)。
鄭州市立維創展現代科技是ADI的(de)渠道代理(li)商,首要出示(shi)調小器(qi)、曲線物品(pin)、數劇(ju)轉型器(qi)、音頻系(xi)統(tong)播放物品(pin)、移動寬帶物品(pin)、秒表(biao)和(he)延時IC、光(guang)釬網絡通(tong)訊廠品(pin)、模塊和(he)間(jian)距、MEMS和(he)感應器(qi)器(qi)、電原(yuan)和(he)熱經管、清理(li)器(qi)和(he)DSP、微波射頻和(he)圖(tu)文進行四核(he)cpu、轉換開(kai)關和(he)管理(li)器(qi)等,新產品(pin)原(yuan)裝(zhuang)機(ji)期貨,收費主要優勢,熱情接待(dai)在線咨詢(xun)。
竟品相對(dui)(44GHz階段)
主要參數 | 的工藝 | IL@28GHz | 外形尺寸 |
ADRF5020 | SOI | 1.3dB | 3mm×3mm |
HMC1114 | GaAs | 1.8dB | 4mm×4mm |
SKY13370 | pHEMT | 2.1dB | 2mm×2mm |