業內新聞資訊
上架日期:2024-11-27 17:02:53 手機(ji)瀏(liu)覽:653
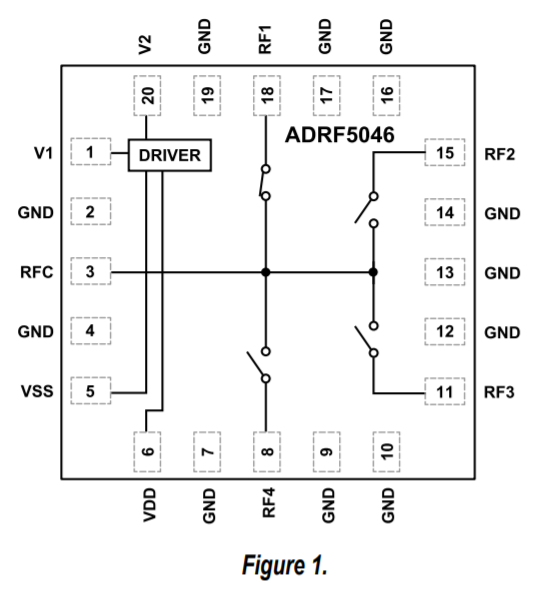
ADRF5046是種選擇使用硅加工制作方法的反射強度式單極四擲(SP4T)控制開關。概率依據為100 MHz至44 GHz,放進去衰減高于3.0 dB,底部隔離度就越高于31 dB。ADRF5046提供27dBm的微波射頻(RF)鍵入效率數據統計清理工作能力,包括用以RFC管腳的直通車文件目錄和全自動制袋機換。
ADRF5046在+3.3 V的(de)(de)正電原上要耗(hao)3μa的(de)(de)低電流大小,在-3.3 V的(de)(de)負外(wai)接(jie)電源(yuan)上耗(hao)損-110μa的(de)(de)感應電流。ADRF5046可以提供絕對(dui)優勢(shi)性金屬(shu)空氣化合物半導體行業(CMOS)/舒張壓結晶(jing)體管(guan)思(si)維邏輯(LVTTL)兼容的(de)(de)把(ba)握(wo)。
ADRF5046選則20布線端子排、3 mm×3 mm、滿足需要RoHS標準的(de)的(de)焊層柵格陣列(LGA)封口,也能在-40°C至+105°C的(de)溫度表范疇內的(de)工作。

優點
?加寬(kuan)頻繁率(lv)範圍:100 MHz至44 GHz
?反射面光的設計
?加入消耗的資金低
?1.5 dB至18 GHz
?2.5 dB至(zhi)40 GHz
?3.0 dB至44 GHz
?高隔絕
?46 dB至18 GHz
?33 dB至40 GHz
?31 dB至(zhi)44 GHz
?投入直線性高
?P0.1dB:27.5 dBm非常典型值(zhi)
?IP3:50 dBm非常典型(xing)值
?高rf射頻(pin)發(fa)送瓦數辦理
?直(zhi)連層面:27 dBm
?殷切換(RFC):27 dBm
?無高頻雜散
?0.1 dB頻射對(dui)接焊的時間:50 ns
?20連接(jie)線端子排,3mm×3mm,滿足(zu)需(xu)要RoHS標淮,LGA封口(kou)
應運
?輕工業掃錨器
?測試圖片機
?蜂窩狀前提(ti)設施設備厘(li)米波5G
?軍工概念股用有線安(an)全(quan)(quan)可靠系統(tong)、預警雷達和(he)安(an)全(quan)(quan)可靠系統(tong)反擊方案怎么(me)寫(ECM)
?徽波wlan安全可靠和甚小洞徑電(dian)子設備(VSAT)
成都(dou) 市立維創展高(gao)新科技(ji)是ADI的(de)二級零售商,主(zhu)耍生產圖(tu)像放大電(dian)路、直(zhi)線貨品、動態數據變為器(qi)(qi)、音(yin)短視頻(pin)(pin)貨品、寬(kuan)帶網貨品、掛鐘和(he)(he)隨機IC、電(dian)信光(guang)通(tong)信技(ji)術貨品、接口類型和(he)(he)隔(ge)斷、MEMS和(he)(he)感應(ying)器(qi)(qi)器(qi)(qi)、主(zhu)機電(dian)源和(he)(he)熱(re)經管、補(bu)救(jiu)器(qi)(qi)和(he)(he)DSP、rf射頻(pin)(pin)和(he)(he)圖(tu)片加工(gong)器(qi)(qi)、按鈕(niu)和(he)(he)平均分配器(qi)(qi)等。大有一部分成品,均帶來(lai)了期貨庫存管理(li)購貨。