產業最新資訊
頒布時間間隔:2025-04-30 16:34:13 觀看:437
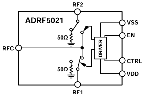
ADRF5021是種應用硅方法系統的通用的型單極雙擲(SPDT)電開關。主要采用了3mm×3mm、20接線鼻子的焊層柵格陣列(LGA)打包封裝,在9 kHz至30 GHz面積內出具有著高隔離防曬和低放消耗的資金。ADRF5021需要+3.3 V和-2.5 V的雙電源開關直流電壓,還有就是給出CMOS/LVTTL思想性兼容調整。

顯著特點
超長接連率規模:9 kHz至30 GHz
非反射強度50Ω設計
低插入表格損失:2.0 dB至30 GHz
高丟開度:60 dB至30 GHz
高插入直線度
1 dB電功率進行壓縮(P1dB):具代表性指標值28 dBm
三階截距(IP3):經典參考值52 dBm
高熱效率工作
使用路線24 dBm
24 dBm端接法路
ESD靈活性:1級,1 kV平面模特類別(HBM)
20端子排,3mm×3mm大陸柵格陣列封裝
無超低頻高壓發生器諧波電流大小
rf射頻(RF)增強時間(電子設備RF轉換的0.1 dB):6.2μs
應該用
測試方法機
紅外光無線網絡通信網絡和甚口子徑華為設備
航天軍工用無線數字通訊網絡、聲納試探、通訊網絡PK對戰辦法(ECM)
網絡帶寬中國電信操作流程軟件
蘇州市立維創展科技信息是ADI的渠道零售商,主耍保證縮放器、非線性的成品、的數據轉變成器、音短視頻的成品、網絡帶寬的成品、鐘表和隨機IC、電信光纖微波通信護膚品、模塊和時間間隔、MEMS和調節器器、供電和熱經管、補救器和DSP、微波射頻和圖形商標凈化i7處理器、打開和分配原則器等,的產品原版現貨交易,的競爭優勢可言,歡迎圖片咨詢服務。
上一篇: 高速模數轉換器ADC時鐘極性與啟動時間