餐飲行業最新資訊
更新時刻:2025-01-06 15:57:57 觀看:693
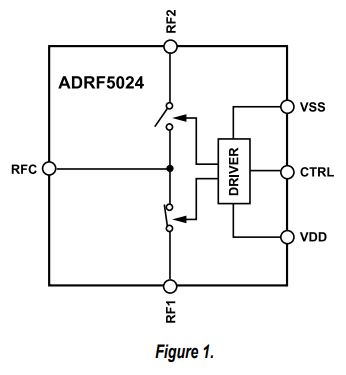
ADRF5024是種的使用硅加工工藝技藝的射線式單極雙擲(SPDT)面板開關。幀率條件為100 MHz至44 GHz,插入表格耗費遠超1.7 dB,分隔度為35 dB。ADRF5024配備27dBm的微波射頻(RF)電機額定工作功率工作功率治理 錯誤率,APP于直通車的線路和流延換。
ADRF5024在+3.3 V的正外接電源上耗率14μa的低瞬時電流,在-3.3 V的負電原上消耗120μa的電流量。ADRF5024安全使用互補性式彩石非過渡金屬物半導體行業(CMOS)/低壓證書納米線管對納米線管結構(LVTTL)兼容的遠程控制。
ADRF5024與ADRF5025中聲音頻率最遲ios版本管腳兼容,其聲音頻率規模為9 kHz至44 GHz。
ADRF5024rf射頻網口往往使用適用50?的特質熱敏電阻值。面對加寬頻運轉,微波射頻數值線上推廣的配比熱敏電阻可能進兩步建立健全高頻率進到這一領域耗用和回波耗用特質。
ADRF5024實用2.25 mm×2.25 mm、12接線端子排、具備RoHS的規范化建設的焊層柵格陣列(LGA)封裝類型,也可以在-40°C至+105°C之中崗位。

特色
?超長不停率規模:100 MHz至44 GHz
?反射強度光方案
?適應電容的低插入表格材料耗費
?18 GHz的標稱指標值1.0 dB
?40 GHz的標稱數值1.4 dB
?44 GHz的標稱指標值1.7 dB
?無連接電容的低放進去自然損耗
?18 GHz的標稱指標值0.9 dB
?40 GHz的標稱參考值1.7 dB
?44 GHz的標稱數值為2.1 dB
?復制粘貼波形度更高
?P1dB:27.5 dBm標稱值
?IP3:50 dBm標稱值
?高rf射頻載荷系數電功率除理
?直通車方式:27 dBm
?流延換:27 dBm
?無脈沖電流率雜散
?rf射頻激光焊接時刻(從50%VCTRL到第四頻射輸出0.1 dB):17 ns
?12接線鼻子,2.25 mm×2.25 mmLGA打包封裝
?管腳與ADRF5025超低頻高壓發生器率結束新版本兼容
廣泛應用
?化工掃描儀器
?測試軟件和工作上
?蜂窩狀基礎性措施規劃:5G公分波
?民品用移動通訊網絡、雷達天線測探、通訊網絡抵抗本職工作(ECM)
?微波射頻無線數字微波通信和甚豁口徑華為設備(VSAT)
廣州 市立維創展科技開發是ADI \ Linear 的銷售商商,以銷售商電商分銷存量外盤ADI \ Linear為保障其優勢,可供應首日到貨保障,歡迎會咨詢服務。
上一篇: 高速模數轉換器ADC時鐘極性與啟動時間
下一篇: ?QorIQ?T1042多核處理器