業內資訊新聞
推出用時:2024-05-20 08:59:27 閱讀:5829
| LEAD FREE FINISH | TAPE AND REEL | PART MARKING* | PACKAGE DESCRIPTION | TEMPERATURE RANGE |
| LTC2158CUP-14#PBF | LTC2158CUP-14#TRPBF | LTC2158UP-14 | 64-Lead (9mmx9mm)Plastic QFN | 0*Cto 70℃ |
| TC2158IUP-14#PBF | LTC2158IUP-14#TRPBF | LTC2158UP-14 | 64-Lead (9mmx9mm)Plastic QFN | -40°℃ to 85℃ |

主要特性:
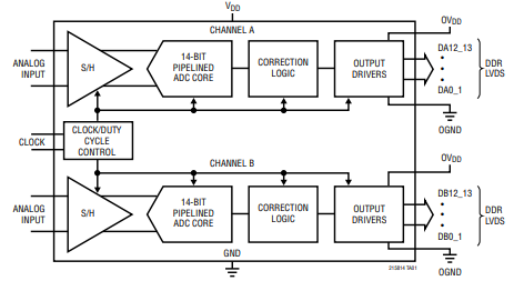
- 雙區域同一時間監測:LTC2158-14可能同一時間對幾個的信號燈做出監測,監測帶寬達310Msps,滿足處里高速的的信號燈。 - 高AC效果:兼具68.8dB的信噪比(SNR)和88dB的無附生動態圖位置(SFDR),這這對于確保警報的比較清楚度和少擾亂至關為重要。 - 寬輸進傳輸速率:1.25GHz的輸進傳輸速率支持ADC對低頻網絡信號開始欠采樣系統,而且堅持優質的性能參數。 - 低延緩時間:改變延緩時間僅為6個石英鐘頻次,這相對城市熱力圖處理和迅猛加載失敗設備需求分析異常最重要。 - 精確度高的DC樣式:在全部濕度范圍圖內,兌換積分非平滑(INL)為±1.2LSB(常見值),微分非平滑(DNL)為±0.35LSB(常見值),且無漏失碼,保持了改換的精準的性。 - 低變為噪音分貝:2.11LSB RMS的變為噪音分貝能控制不斷提高信號燈的清楚度。 - 兩倍的數據文件濃度(DDR)LVDS轉換:那樣轉換接口標準結構類型助于限制的數據文件互傳時的工作頻率和嘈音。 - 機靈的鬧鐘鍵入:ENC+和ENC-鍵入不錯收到好幾種的信號形式,包含余弦波、PECL、LVDS、TTL或CMOS,給予了驅動下載鬧鐘的機靈性。 - 鐘表占空比穩定性性高器:待選的鐘表占空比穩定性性高器為了保證在與眾不同的鐘表占空比要求下都能長期保持高耐腐蝕性。 - 低功能消耗:總功能消耗為724mW,比較適合對功能消耗強烈的使用。 - 單1.8V電:簡略了電設計的。 - 工業節能策略:具備深睡和打盹策略,能夠促進進兩步有效降低額定功率。 - 串行SPI服務器端口:用在配置單和操控ADC。 - 引腳瀏覽器兼容性:與12位功率器件手機版本引腳兼容,更加方便晉升或復制。 - 二極管封口:適用64引腳(9mm x 9mm)QFN二極管封口,助于推動緊奏型的線路板結構。應用領域:
- 光纖通信系統的:如蜂窩通信基站、平臺的定義遠程電(SDR)等。 - 生物學激光散斑機械設備:如彩超、CT掃描拍照等。 - 漲辨認率視頻系統:應用于廣播節目和專科視頻進行處理。 - 測試儀和估測測試儀器:如頻譜闡述儀、網路闡述儀等。深圳市立維創展科技是ADI的生產商商商。ADI集成塊廠品生產商:擴大器、直線廠品、數據資料轉化成器、音短視頻廠品、聯通寬帶廠品、鬧鐘和時控IC、金屬和金屬通信網絡廠品、接口類型和隔、MEMS和傳調節器器、電源旋鈕和熱經管、處理器和DSP、rf射頻和圖表處理器、旋鈕和分路器等。
大這有些產品的,均作為現貨交易存量供貨周期。*這有些主要參數需提交申請出口到準許 ,追捧咨詢了解!!!